起底“真假开市客”背后老板
近日,“开市客北京国际商业发展有限公司”宣称将以15亿美元在华布局,随即遭到开市客中国官方辟谣,“真假开市客”纷争引发广泛关注。据时代财经报道,“开市客北京”背后的关键人物指向皮省川。
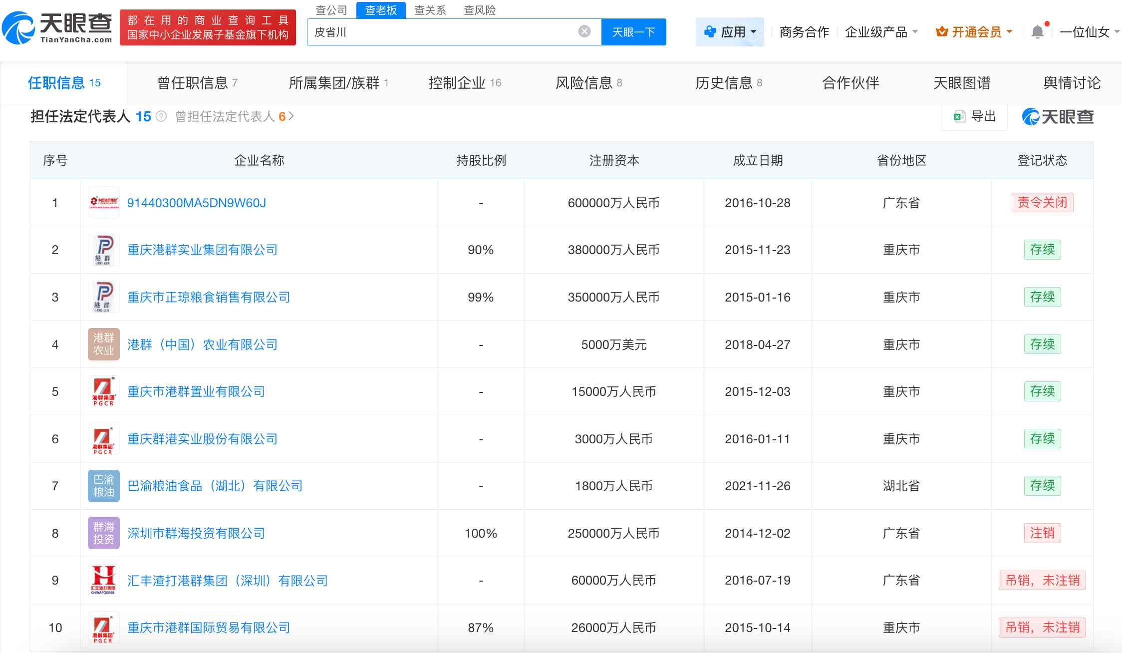
天眼查App显示,皮省川目前担任法定代表人的企业达15家,曾担任法定代表人的企业共6家,注册资本从2万元到38亿元不等。值得注意的是,上述多家企业员工参保人数显示为0,注册地址也高度集中,均为重庆广告产业园的同一地址。
天眼查显示,皮省川曾在好事多商业零售投资(深圳)有限公司(原名为“汇丰渣打集团”)担任总经理、执行董事,后于2024年9月退出。就在其退出后的次月,渣打银行(中国)有限公司公开发布澄清公告,确认英国渣打银行及渣打集团与该公司及其股东无任何关联,相关宣传均为不实信息。变更记录显示,2026年3月,该公司注册资本从80亿元骤减至5万元,并更名为“好事多商业零售投资(深圳)有限公司”。
皮省川还曾被央企华润打假。天眼查显示,皮省川担任巴渝粮油食品(湖北)有限公司的董事,该公司股东为重庆港群实业集团有限公司。值得注意的是,2022年年报显示其股东一栏曾出现华润水泥控股集团(香港)有限公司,参保人数158人,而其余年份参保人数均为0。
2025年7月,华润建材科技控股有限公司发布声明,指有不法分子伪造材料冒充其下属子公司,假冒企业包括巴渝粮油食品有限公司、汇川证券股份有限公司、中国顺益集团股份有限公司,上述企业均指向皮省川,华润方面明确声明与上述公司无任何隶属或股权关系。




本文转载自天眼查,转载目的在于传递更多信息,并不代表本站赞同其观点和对其真实性负责。如涉及作品内容、版权和其它问题,请联系天眼查通知我方删除,我方将在收到通知后第一时间删除内容!本文只提供参考并不构成任何投资及应用建议。本站拥有对此声明的最终解释权。
