美团申请注册1对1急送商标
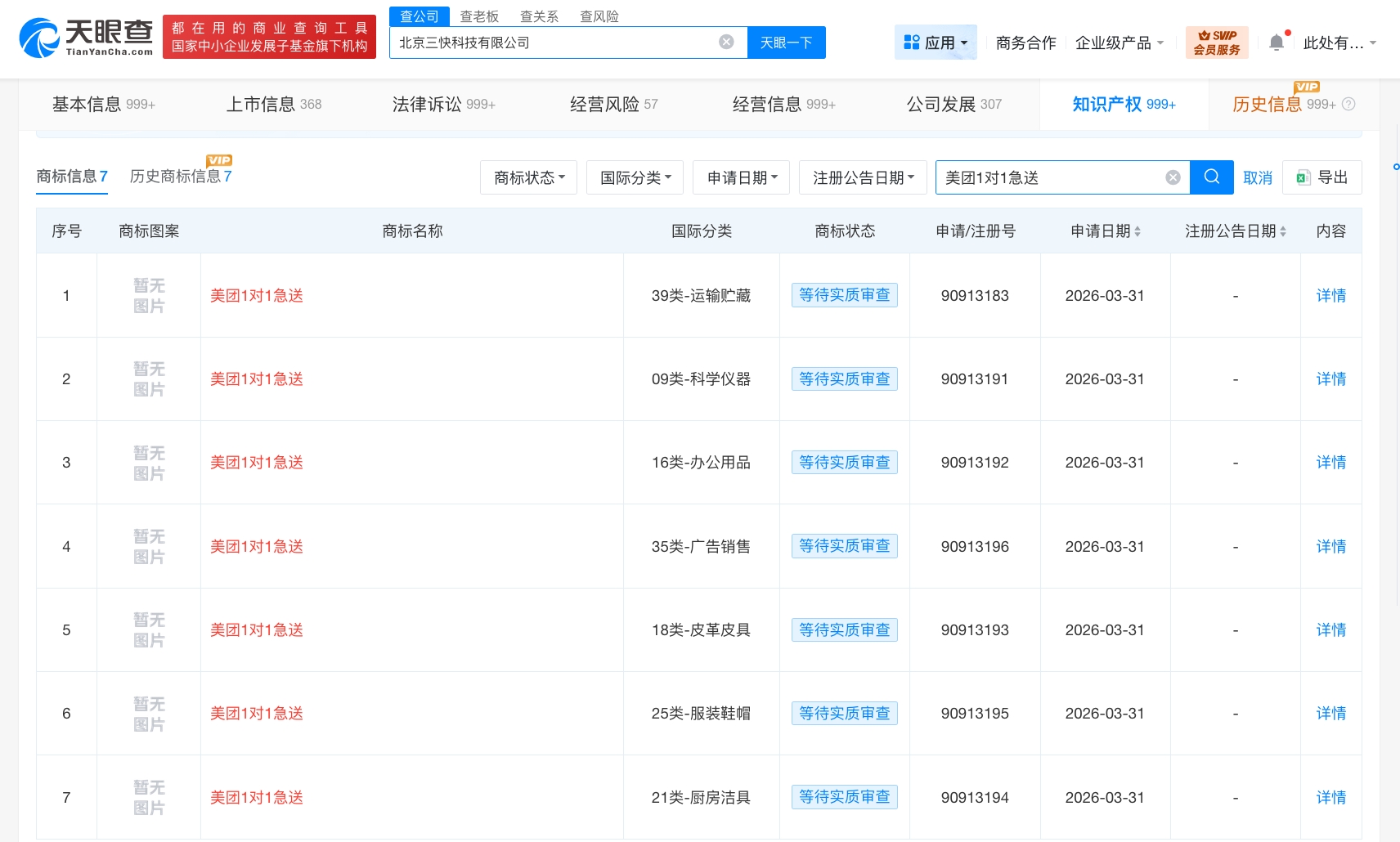
天眼查知识产权信息显示,近日,美团关联公司北京三快科技有限公司申请注册多枚“美团1对1急送”商标,国际分类涉及科学仪器、运输贮藏、广告销售等,当前商标状态均为等待实质审查。
公开信息显示,1对1急送是美团外卖于2025年8月推出的配送服务,通过专属运力实现“一次只送一单”的配送模式。于2025年9月26日正式宣布升级并首次深度服务于餐饮外卖领域。


本文转载自天眼查,转载目的在于传递更多信息,并不代表本站赞同其观点和对其真实性负责。如涉及作品内容、版权和其它问题,请联系天眼查通知我方删除,我方将在收到通知后第一时间删除内容!本文只提供参考并不构成任何投资及应用建议。本站拥有对此声明的最终解释权。
