雷军名下公司五年前入股宇树

据媒体报道,近日,雷军公开感谢宇树科技创始人王兴兴给了投资宇树的机会,相关话题引发关注。

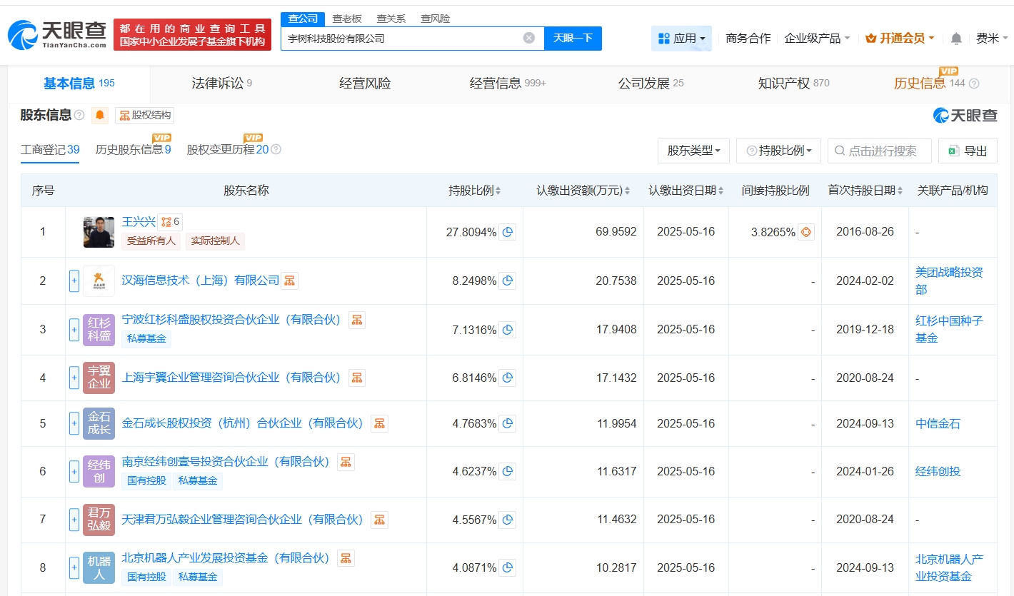
天眼查App显示,宇树科技股份有限公司成立于2016年8月,法定代表人为王兴兴,注册资本约3.64亿人民币,经营范围包括智能机器人的研发、工业机器人制造、服务消费机器人制造等。股东信息显示,该公司由王兴兴、美团旗下汉海信息技术(上海)有限公司、雷军名下顺为资本关联公司Astrend IV (Hong Kong) Alpha Limited等共同持股。


0c871d6bd5a6a97ae4804be29200efe4.jpg


293f42bf3d1a5c30f9993f6a897b4303.jpg


8ab52ed80d9ae8a4fc34c788bcd85ab2.jpg


本文转载自天眼查,转载目的在于传递更多信息,并不代表本站赞同其观点和对其真实性负责。如涉及作品内容、版权和其它问题,请联系天眼查通知我方删除,我方将在收到通知后第一时间删除内容!本文只提供参考并不构成任何投资及应用建议。本站拥有对此声明的最终解释权。