王小卤多项鸡爪专利获授权

据媒体报道,针对315曝光漂白鸡爪的问题,王小卤发布公告称公司旗下产品绝不添加双氧水。

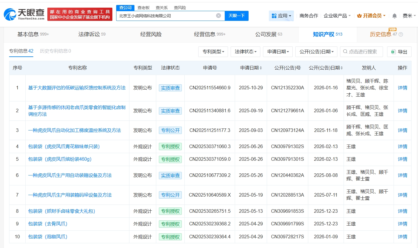
天眼查App显示,王小卤关联公司北京王小卤网络科技有限公司成立于2016年4月,法定代表人为王雄,注册资本约163万人民币,经营范围包括企业形象策划、市场调查、企业管理咨询等。股东信息显示,该公司由王雄、朱章其、沈宏君等共同持股。知识产权信息显示,该公司申请的“包装袋(去骨凤爪)”“包装袋(泡椒凤爪)”等多项鸡爪专利获授权。对外投资信息显示,该公司对外投资6家企业,包括宿迁王小卤食品科技有限公司、安徽王小卤食品科技有限公司、安徽王小卤网络科技有限公司等。


ba6f907d1797bad2aeab5111ca406f1b.jpg


c7a1b355d1e8d503a3a5cfac6e346536.jpg


3e01f8bf19c8cd7d1cf9df7606f2451b.jpg


4a46c75ee8d2c7a7a8b33dd810bd6aab.jpg

本文转载自天眼查,转载目的在于传递更多信息,并不代表本站赞同其观点和对其真实性负责。如涉及作品内容、版权和其它问题,请联系天眼查通知我方删除,我方将在收到通知后第一时间删除内容!本文只提供参考并不构成任何投资及应用建议。本站拥有对此声明的最终解释权。