白云电器增资至约5.4亿
天眼查App显示,近日,白云电器(603861)发生工商变更,胡德兆卸任法定代表人,由胡明聪接任,同时,注册资本由约4.9亿人民币增至约5.4亿人民币,增幅约10%。
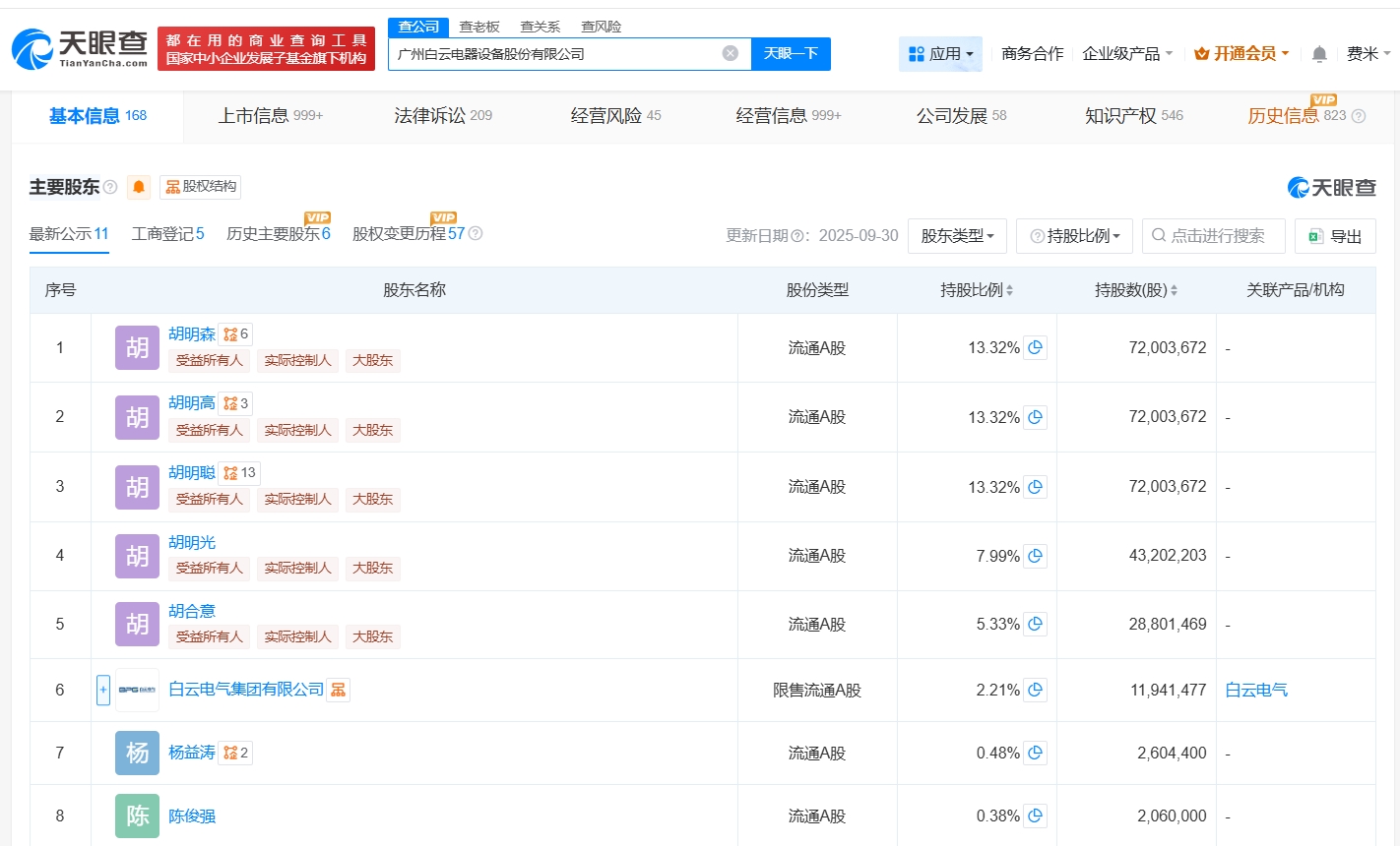
广州白云电器设备股份有限公司成立于1989年7月,经营范围包括输配电及控制设备制造、配电开关控制设备制造、电力设施器材制造等。股东信息显示,该公司由胡明森、胡明高、胡明聪等共同持股。



本文转载自天眼查,转载目的在于传递更多信息,并不代表本站赞同其观点和对其真实性负责。如涉及作品内容、版权和其它问题,请联系天眼查通知我方删除,我方将在收到通知后第一时间删除内容!本文只提供参考并不构成任何投资及应用建议。本站拥有对此声明的最终解释权。
