315曝光鸡爪公司老板名下公司被吊销

据媒体报道,央视315晚会曝光乖媳妇鸡爪关联公司,记者致电发现其股东曾巧正在观看晚会。

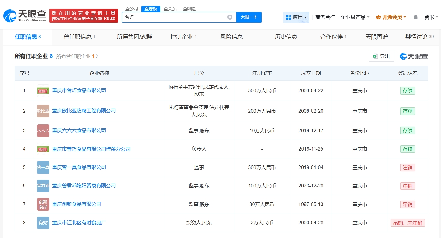
天眼查任职信息显示,曾巧名下关联8家企业,其中4家企业处于存续状态,包括乖媳妇鸡爪关联公司重庆市曾巧食品有限公司、重庆欧比亚防腐工程有限公司等,曾巧在乖媳妇鸡爪关联公司担任执行董事兼经理、法定代表人并持有该公司股份,其他4家企业已注销或被吊销。


194dbb95e26890166a0ba3d786832d4a.jpg


5fd22659c6d7ed7c6db69796962afe24.jpg



本文转载自天眼查,转载目的在于传递更多信息,并不代表本站赞同其观点和对其真实性负责。如涉及作品内容、版权和其它问题,请联系天眼查通知我方删除,我方将在收到通知后第一时间删除内容!本文只提供参考并不构成任何投资及应用建议。本站拥有对此声明的最终解释权。