白冰被曝偷税一天掉粉30万
近日,国家税务总局公布一起偷税案件。经查,“探店”网红白冰在2021年至2024年期间通过转换收入性质、虚假申报等方式,少缴个人所得税、增值税、契税等税费共计911.18万元,国家税务总局依法对其作出处罚。
第三方数据显示,白冰视频平台账号近30日掉粉超45万,被曝偷税当日(4月28日)掉粉超30万。
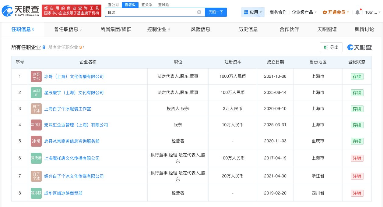
天眼查App显示,白冰名下共关联8家企业,其中5家为存续状态,包括冰哥(上海)文化传播有限公司、上海白了个冰服装工作室、宏深汇企业管理(上海)有限公司、忠县冰常商务信息咨询服务部、星辰寰宇(上海)文化有限公司,版图涉及文化传播、服装等。此外,白冰名下上海魔托唐文化传播有限公司、绍兴白了个冰文化传媒有限公司、成华区靖冰陕商贸部均已注销。


本文转载自天眼查,转载目的在于传递更多信息,并不代表本站赞同其观点和对其真实性负责。如涉及作品内容、版权和其它问题,请联系天眼查通知我方删除,我方将在收到通知后第一时间删除内容!本文只提供参考并不构成任何投资及应用建议。本站拥有对此声明的最终解释权。
