鸣鸣很忙商业版图盘点
据媒体报道,1月28日,“量贩零食第一股”鸣鸣很忙登陆港交所,其股票开盘价为445港元/股,盘中涨幅一度超过88%,公司总市值也随之超过900亿港元。
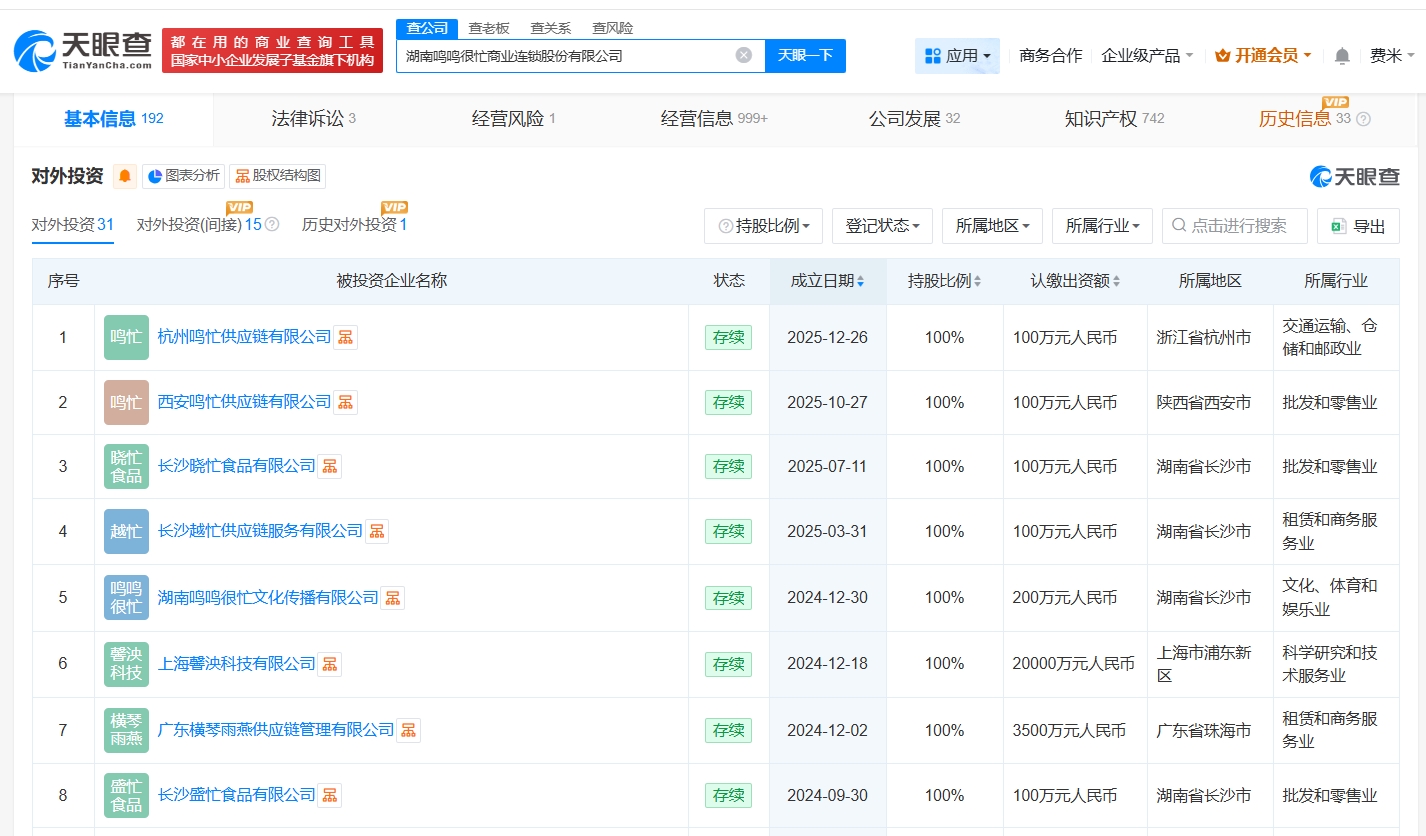
天眼查App显示,鸣鸣很忙关联公司湖南鸣鸣很忙商业连锁股份有限公司成立于2019年12月,法定代表人为晏周,经营范围包括食品销售、食品互联网销售、酒类经营等,由晏周、宜春鸟窝广告信息文化传播有限公司、李维等共同持股。变更记录显示,去年该公司发生两次增资,注册资本由约2472万人民币增至2亿人民币,此外企业名称由湖南鸣鸣很忙商业连锁有限公司变更为湖南鸣鸣很忙商业连锁股份有限公司,对外投资信息显示,该公司对外投资30余家企业,其中20余家处于存续状态。值得一提的是,2025年以来,该公司已成立杭州鸣忙供应链有限公司、西安鸣忙供应链有限公司等多家新公司。





本文转载自天眼查,转载目的在于传递更多信息,并不代表本站赞同其观点和对其真实性负责。如涉及作品内容、版权和其它问题,请联系天眼查通知我方删除,我方将在收到通知后第一时间删除内容!本文只提供参考并不构成任何投资及应用建议。本站拥有对此声明的最终解释权。
