华策注册多枚田栩宁关联商标
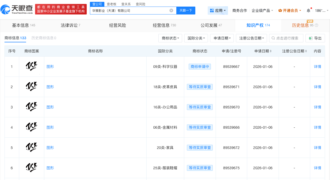
天眼查知识产权信息显示,近日,华策影业(天津)有限公司申请注册多枚“TXN”商标,国际分类涉及科学仪器、皮革皮具、办公用品等,当前商标状态均为等待实质审查。
值得注意的是,“TXN”为田栩宁名字拼音首字母。


本文转载自天眼查,转载目的在于传递更多信息,并不代表本站赞同其观点和对其真实性负责。如涉及作品内容、版权和其它问题,请联系天眼查通知我方删除,我方将在收到通知后第一时间删除内容!本文只提供参考并不构成任何投资及应用建议。本站拥有对此声明的最终解释权。
天眼查知识产权信息显示,近日,华策影业(天津)有限公司申请注册多枚“TXN”商标,国际分类涉及科学仪器、皮革皮具、办公用品等,当前商标状态均为等待实质审查。
值得注意的是,“TXN”为田栩宁名字拼音首字母。


本文转载自天眼查,转载目的在于传递更多信息,并不代表本站赞同其观点和对其真实性负责。如涉及作品内容、版权和其它问题,请联系天眼查通知我方删除,我方将在收到通知后第一时间删除内容!本文只提供参考并不构成任何投资及应用建议。本站拥有对此声明的最终解释权。