罗马仕近期被罚没124万
据媒体报道,记者从市场监管总局召开的2025年综合整治“内卷式”竞争十大重大案件发布会上了解到,全国市场监管部门共查处充电宝相关违法案件1169件,守牢产品质量安全底线。其中,深圳罗马仕科技有限公司违反强制性认证规定及虚假宣传较为典型。
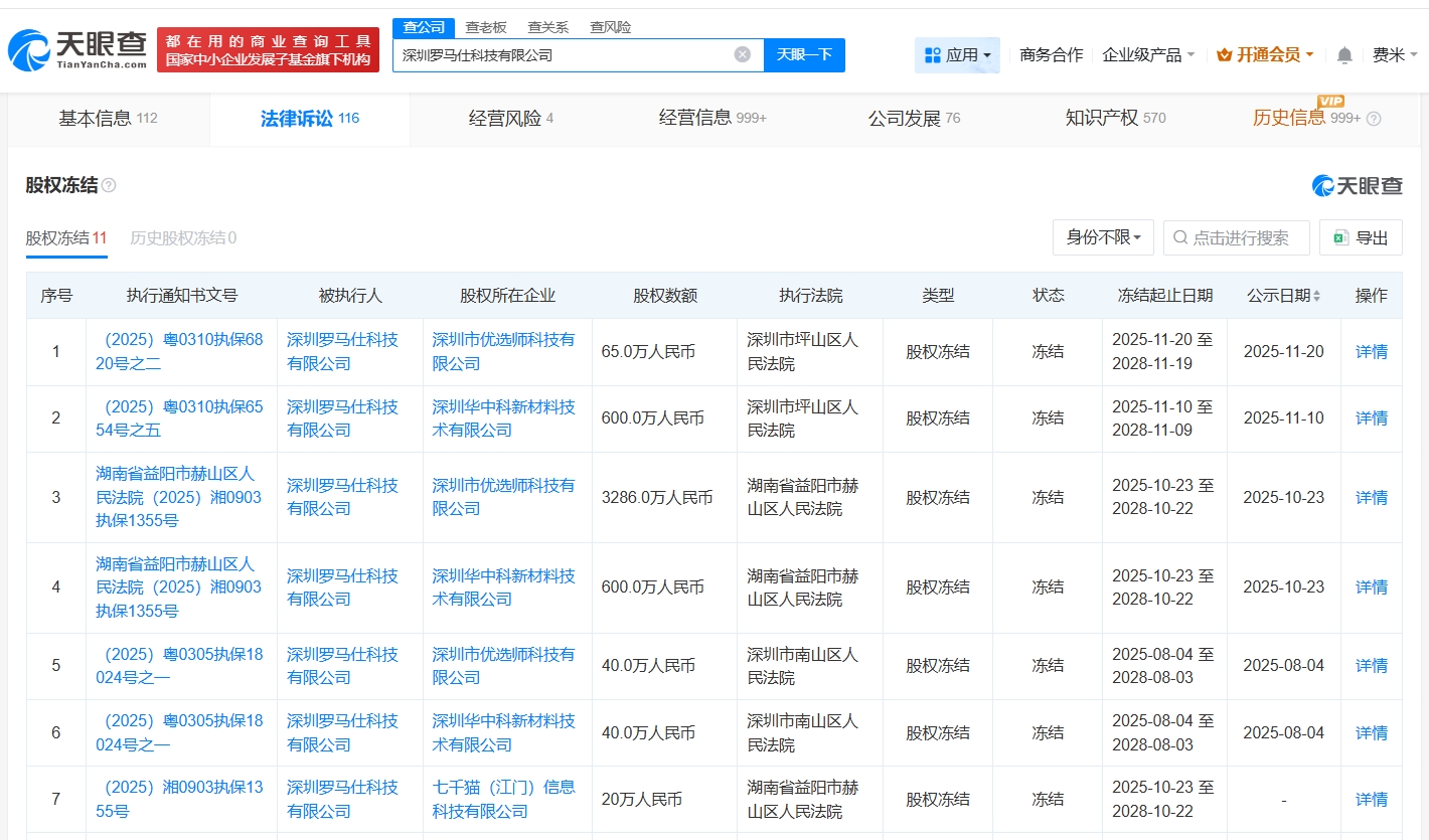
天眼查工商信息显示,深圳罗马仕科技有限公司成立于2012年3月,法定代表人为雷社杏,注册资本600万人民币,经营范围包括国内贸易、经营进出口业务、服装的设计及销售等。股东信息显示,该公司由雷桂斌、雷灿伙共同持股。天眼风险信息显示,去年12月,该公司曾因违反强制认证规定、虚假宣传,被深圳市市场监督管理局南山监管局没收违法所得1.2万余元、罚款123万元。此外,该公司旗下多家公司股权被冻结,包括深圳市优选师科技有限公司、深圳华中科新材料技术有限公司等。




本文转载自天眼查,转载目的在于传递更多信息,并不代表本站赞同其观点和对其真实性负责。如涉及作品内容、版权和其它问题,请联系天眼查通知我方删除,我方将在收到通知后第一时间删除内容!本文只提供参考并不构成任何投资及应用建议。本站拥有对此声明的最终解释权。
